Часовой пояс: UTC + 3 часа




Куратор(ы):   Rexcor   



Начать новую тему Новая тема / Ответить на тему Ответить  Сообщений: 38624 • Страница 926 из 1932<  1 ... 923  924  925  926  927  928  929 ... 1932  >
  Пред. тема | След. тема 
В случае проблем с отображением форума, отключите блокировщик рекламы
Автор Сообщение
 
Прилепленное (важное) сообщение

Moderator
Статус: Не в сети
Регистрация: 02.12.2009
Откуда: Russia
Фото: 17
В данной теме обсуждаются CPU линейки AMD Ryzen 5000 (микроархитектура ZEN3)




В данном топике в полной мере действуют: ПРАВИЛА КОНФЕРЕНЦИИ
Для поддержания внутреннего порядка темы, для облегчения поиска по теме есть ряд внутренних правил (выдержки из основных Правил Конференции в более развёрнутом виде), согласно которым в теме запрещено или не допускается:
1. Обсуждение других процессоров: AMD или Intel ("А вот Zen2 стоит дешевле, на фига эти Zen3) и подобные им бессмысленные посты;
2. Обсуждение выбора процессоров по типу: "а какой бы мне Ryzen выбрать для "такого-то" и "того-то" (для выбора процессоров существует отдельная тема, см. вкладку "Смежные темы");
3. Коверканье названий процессоров (!!!) (например: Срузен, Руза, Рузина, Кукурузен и так далее). На этом особенно заостряю внимание. Если вам тяжело переключить раскладку и вместо Ryzen напечатать "Райзен", то без обид потом;
4. Фанатство (по типу "Intel тащит лучше, на фиг вам эти АМД", "Да за эти деньги лучше взять Core i5 10600, чем Ryxen 5600X и им подобные посты);
5. Обсуждение СО для данных процессоров. Для выбора воздушного или водяного охлаждения для таких процессоров есть специальные ветки (там тоже сидят люди, которые в курсе энергопотребления, если вдруг не в курсе);
6. Обсуждение цен на процессоры, ценовой политики компании (например, "Да зачем он нужен за такие деньги", "А что так дорого?" и подобные возгласы). От таких постов дешевле они не станут, поймите, а захламлять тему такими постами лучше никому не станет и практический смысл ветки сносится на "Нет";
7. Размещать посты по типу "Вот тут появился процессор, налетай", "А вот тут дешевле, чем там", "А как мне купить бы этот процессор и где" и подобные им посты;
8. Обсуждать материнские платы или ОЗУ для этих процессоров (есть специальные ветки, там и ведём обсуждение).

Расклад такой: весь оффтоп/флуд, который не имеет отношения к теме (повторюсь - это посты про цены, посты про то, что лучше брать для игр/работы, посты о том, где и как лучше достать и другие вопросы из списка выше) будут просто удаляться. Для особых рецидивистов, которые с первого/второго раза не понимают буду премироваться картой от 2-х недель и до месяца. Если и это не будет помогать, то запрет на постинг в теме.

Приветствуется:
1. Публикация полезных ссылок на обзоры (для дальнейшего занесения в шапку), интересных технических составляющих этих процессоров (расположения кристаллов, вскрытие и прочие технические нюансы);
2. Личные/субъективные ощущения/мнения от перехода или смены на это семейство процессоров, можно даже кратки мини-обзор напечатать с пояснением температур, используемой конфигурации и прочее;
3. Публикация разгона данных процессоров (если будет много таких, то можно будет сделать такую же статистику с занесением в Google-таблицы)


Вводная информация о процессорах Ryzen 5000-серии Zen3
Преемник невероятно успешной и революционной архитектуры Zen 2, запущенной в 2019 году, Zen 3, как говорят, представляет собой нечто большее, чем инкрементное обновление - на самом деле AMD обещает «совершенно новую архитектуру» с соответствующей производительностью. Его первые официальные тесты указывают на многообещающие улучшения в игровой производительности.
Итак, что AMD обещает нам с переходом на Ryzen 5000 Zen3:
  • Лидерство в игровой производительности 1080p;
  • Тот же оптимизированный 7-нм техпроцесс, что и у моделей Ryzen XT;
  • Микроархитектура Zen 3 обеспечивает улучшение IPC на 19%;
  • Повышение энергоэффективности на 24% - в 2,8 раза лучше, чем у 10900K;
  • Более высокие пиковые частоты для большинства моделей - 4,9 ГГц на Ryzen 9 5950X;
  • Более низкая базовая частота для всех моделей, компенсируется повышенным IPC;
  • Кэш L3 теперь объединен в один кластер размером 32 МБ для каждого восьмиъядерного чиплета (CCD);
  • Совместимость с Socket AM4;
  • Новые чипсеты / материнские платы не выпускаются;
  • Материнские платы текущего поколения серии 500 уже поддерживают Zen3;
  • Та же максимальная мощность 142 Вт для сокета AM4, что и у предыдущего поколения;
  • Тот же 12-нм кристалл ввода-вывода GlobalFoundries (IOD);
Более подробная информация на английском языке описана - по этой ссылке
Характеристики Ryzen 5000-серии
Вложение:
Zen3.PNG
Zen3.PNG [ 10.55 КБ | Просмотров: 2768361 ]

Вложение:
Расположение чиплетов в Zen3.JPG
Расположение чиплетов в Zen3.JPG [ 202.04 КБ | Просмотров: 2767460 ]

Вложение:
Эволюция ZEN.JPG
Эволюция ZEN.JPG [ 94.29 КБ | Просмотров: 2767460 ]

Вложение:
Power Consumption Zen3.JPG
Power Consumption Zen3.JPG [ 74.36 КБ | Просмотров: 2767460 ]

Вложение:
Power Consumption Zen3 OC.JPG
Power Consumption Zen3 OC.JPG [ 77.41 КБ | Просмотров: 2767460 ]

Вложение:
Компоновка чиплетов в Zen3 vs Zen2.PNG
Компоновка чиплетов в Zen3 vs Zen2.PNG [ 570.81 КБ | Просмотров: 2766576 ]

Авторазгон, пример настройки
Немного о том как настраивать авторазгон этих процессоров. Один из методов. На примере Ryzen 9 5950X и материнской платы ASUS X570-I, охлаждение кастомная СВО
1)VCore Offset тесно связан с Curve Optimizer. Сама по себе Curve это некая зависимость частоты от напряжения. Сначала выставляется напряжение, потом из этой зависимости/графика берётся соответствующая частота. Форму самой кривой/графика мы менять не можем, как в разгоне видеокарт NVIDIA, но можем двигать всю кривую целиком вверх и вниз. Что нам это даёт? На каждое напряжение можно подобрать максимально стабильную частоту, причём на каждое ядро. Ну или почти максимально стабильную, возможности ограничены 30-ю шагами вверх и столько же вниз. Что нам понадобится?

HWiNFO64
Cinebench R20
Скрипт, запускающий prime95 по очереди на каждое ядро.

Лично я выставил сразу лимиты по максимуму что может VRM материнки и сколько может переварить охлаждение. Precision Boost Overdrive Scalar чем больше значение, тем позже и менее агрессивно процессор сбрасывает частоты после того как пропала нагрузка. Выставил на максимум. Что касается Load-Line Calibration то для всего кроме VCore выставляю в самое агрессивные значения, хотя и для VCore тоже. Precision Boost берёт во внимание показания именно мониторинга, а не запрашиваемое значение. Мониторинг материнской платы читается Precision Boost`ом через такой протокол как SVI2 TFN. Технология заключается в следующем:
1)выставляем Желаемый VCore Offset, если выставляем его в сторону увеличения, то малопоточная производительность будет выше, если в сторону уменьшения то многопоточная производительность будет выше. Под каждую настройку VCore Offset надо подправлять значения Curve Optimizer,
2)сначала для всех ядер уменьшаем Curve Optimizer,
3)запускаем скрипт, упомянутый выше, повторяем шаг номер 2, пока ни начнёт вываливаться ошибка на одном или нескольких ядрах и откатываемся на один шаг
4)запускаем после этого Cinebench R20, с большой вероятностью система просто перезагрузится, это по большей части лечится добавлением CPU PLL напряжения с 1,8V, но не превышая 1,9V, хотя от чрезмерного напряжения PLL может начаться обратный эффект и стабильность пропадёт,
5)далее начинаем настраивать Curve Optimizer для каждого ядра отдельно и проверяем стабильность как в шагах 3-4.

При этом методе игнорируется лимит EDC, лимит TDC настраивается исходя из возможностей VRM, какой ток в амперах материнская плата может максимально выдать не перегревая VRM, лимит PPT это максимальное потребление процессора, особенно актуально если система охлаждения очень инертная. 5900X/5950X упрутся в температурный лимит в 90°С на самом горячем CCD, 5600X/5800X в 95°С, эти значения можно уменьшить при помощи настройки Platform Thermal Throttle Limit. Последние 5°С до этого лимита дают приличные пенальти к бусту.

Купил новый процессор и теперь у меня на него подается вплоть до 1.5 Вольт, что делать?!
Немного про охлаждение материнки
Делюсь болью и страданиями! В начале 2021 года купил я 5950X и материнку ASUS X570-I всё настроил спустя пару месяцев, радовался. Спустя пол года начались приколы, за неделю разок проскакивали ошибки WHEA Logger, по одной, потом через пару месяцев вообще критически ошибки WHEA Logger начали появляться и ребуты, причём под малыми нагрузками при просмотре видео или ютубчика, или при свёрнутой игре на паузе. После перепаковки водоблока на видюхе остались термопрокладки Gelid GP Ultimate, разобрал материнку, поменял термопрокладки на VRM, на обратной стороне VRM и на чипсете и вуаля, всё как рукой сняло. Напряжения CLDO VDDP, VDDG IOD, VDDG CCD получилось снизить до старых пределов. Какая связь между WHEA и охлаждением материнки я ХЗ. Но изначально начало помогать тупо обдув вокруг сокета 120мм вентилем. Теперь и без вентиля работает. Посмотреть бы на материнку в тепловизор.


Шапка находится в стадии оформления! Информация по процессорам будет добавляться по мере поступления. Предложения и замечания просьба адресовать куратору Rexcor


Последний раз редактировалось Rexcor 13.12.2022 16:07, всего редактировалось 24 раз(а).
Охлаждение материнки



Партнер
 

Member
Предупреждение 
Статус: Не в сети
Регистрация: 18.01.2013
Откуда: РФ
Фото: 1184
rvspost писал(а):
Выйдет посмотрим.

Там в принципе и так все ясно - проц не гонится...

_________________
B550M Steel Legend
5800X, 4700/1.275
LE360 V2 ARGB
AES 3800 CL16 32 Gb
KFA2 RTX 3080Ti SG
Legion GX PRO 850W Gold
970 EVO+ 2х2тб
LG 27GL83A-B
Eurocase M430ZАF


 

Member
Статус: Не в сети
Регистрация: 29.09.2017
Откуда: дровишки?
Фото: 29
Leon75 писал(а):
Там в принципе и так все ясно - проц не гонится...

Как и остальные 5000-е, если речь о т.н. "разгоне" выставлением множителя/частоты, с напряжением.
А если учесть, что amd нужно обкатать новую технологию, то лок-лок вполне логичен.

_________________
PJVol @OCN, Anandtech


Последний раз редактировалось vol2008 05.04.2022 19:22, всего редактировалось 2 раз(а).

 

Все буде КНР
Статус: Не в сети
Регистрация: 15.03.2006
Откуда: STOP WAR
Фото: 0
S.I.R.Z. писал(а):
всю платформу продавать если хочешь 3D

Поддержка 5800X3D есть в новой версии BIOS, я на свою мамку его могу хоть сегодня поставить.

Добавлено спустя 2 минуты 41 секунду:
Prof писал(а):
вроде как заблокирован множитель

"Напряжение Ryzen 7 5800X3D не превышает 1,35 В, и на данный момент этот показатель рискованно обходить из-за новизны технологии 3D V-Cache.
Ryzen 7 5800X3D будет иметь более низкие тактовые частоты, чем его предшественник: базовую 3,4 ГГц и 4,5 ГГц в режиме Boost"


А как с заблокированным множителем он будет буститься?

Добавлено спустя 3 минуты 11 секунд:
vol2008 писал(а):
Как и остальные 5000-е, если речь о т.н. "разгоне" выставлением множителя/частоты с напряжением.

А как же фикс?
И кстати на тему Core # VID.
Процессоры AMD Ryzen 5000-й серии (Vermeer\Zen3\7nm\AM4) #17675889


 

Member
Статус: Не в сети
Регистрация: 25.03.2021
rvspost писал(а):
Ryzen 7 5800X3D оказался в среднем на 15% быстрее модели Ryzen 9 5900X при гейминге в Full HD на высоких настройках графики

Это рекламная байда от АМД,нужны независимые тесты
Но КЕШ 96мб сделает его одним из самых быстрых процов в играх..думаю так и будет(


 

Member
Статус: Не в сети
Регистрация: 29.09.2017
Откуда: дровишки?
Фото: 29
Alex_Str писал(а):
И кстати на тему Core # VID.

Не знаю, почему он так написал в "подсказке", если кому интересно, может поинтересоваться лично.
Если по сути, то это мягко говоря, не соответствует реализации управления питанием в Zen.
Запрос напряжения делается действительно с внешнего VRM по протоколу SVI2, только не ядрами, а SMU для всей линии VDD_CPU исходя из кривой VFT и расчитанной текущей макс. частотой с учетом инфраструктурных лимитов (в HWInfo называется "CPU Core VID (Effective)" ). Ядра не могут ничего запрашивать, т.к. питаются с Vdd_CPU каждое через свой dLDO регулятор с текущим сопротивлением согласно "дефолтной" магнитуды этого ядра.

Добавлено спустя 2 минуты 37 секунд:
Будильник писал(а):
Это рекламная байда от АМД

Звучит слишком оптимистично, в GB5 он уступает 5800Х в ST, правда на 9% быстрее в МТ.
В Geekbench 5 Multi Core, произв. L3 нехило так влияет. Можно убедиться самому, если сравнить рез-т с дефолтным EDC и например, с 350A.
На моем 5700G разница около 8%.
(по слухам, - https://www.tomshardware.com/news/ryzen-7-5800x3d-beats-ryzen-7-5800x-by-9-in-geekbench-5)

_________________
PJVol @OCN, Anandtech


Последний раз редактировалось vol2008 05.04.2022 20:01, всего редактировалось 1 раз.

 

Member
Статус: Не в сети
Регистрация: 25.03.2021
vol2008 писал(а):
Звучит слишком оптимистично,

Играм нужен КЕШ
Зен3 масляет в играх только за счет кеша
Ну а гигбенч это погода на марсе
вот мой резалт :-)
https://browser.geekbench.com/v5/cpu/14045467


 

Member
Статус: Не в сети
Регистрация: 29.09.2017
Откуда: дровишки?
Фото: 29
Ну на марсе, так на марсе (дополнил пост выше).

_________________
PJVol @OCN, Anandtech


 

Все буде КНР
Статус: Не в сети
Регистрация: 15.03.2006
Откуда: STOP WAR
Фото: 0
vol2008 писал(а):
Ядра не могут ничего запрашивать, т.к. питаются с Vdd_CPU каждое через свой dLDO регулятор с текущим сопротивлением согласно "дефолтной" магнитуды этого ядра.
Если они не могут, то как тогда регулируется это напряжение? Кто его запрашивает? Оно на всех ядрах разное и в нагрузке увеличивается не одинаково...если конечно это напряжение, хотя я считаю что это все же запросы. Вот я сделал скрин этих VIDов на фиксе с частотой 4500 и напряжением 1,29. Там видно что под праймом одно ядро запросило 1,313
CPU Core Voltage (SVI2 TFN) в пике показал 1,294...и если там нет "повышайки", то это не может быть реальным напряжением. Vcore матплаты в пике показал 1,308.

Вложение:
изображение_2022-04-05_201444932.png
изображение_2022-04-05_201444932.png [ 735.2 КБ | Просмотров: 616 ]
Вложение:
изображение_2022-04-05_201953845.png
изображение_2022-04-05_201953845.png [ 537.92 КБ | Просмотров: 612 ]


Добавлено спустя 22 минуты 33 секунды:
Кстати как ты еще вот такое объяснишь...я про такое тут уже пару раз писал, но ответа так и не было.
Vcore подтверждается мультиметром на ноге конденсатора VRM.
Разве что в процессоре есть таки "повышайка" и он из чего угодно делает то что надо...
Про такое писал не только я...
https://www.hwinfo.com/forum/threads/cpu-core-voltage-svi2-tfn-or-core-x-vid-or-what.6199/post-25540

Вложение:
изображение_2022-04-05_203624652.png
изображение_2022-04-05_203624652.png [ 42.4 КБ | Просмотров: 599 ]


Добавлено спустя 24 минуты 15 секунд:
Вот специально для любителей фильтров, ну и для понимания важности продуваемости корпуса и правильности организации потоков.
Тут еще и совпало что корпус такой как у меня. Я в нем все фильтры сразу убрал. А с расположением радиатора у меня вариантов нет, 280мм вверх не поместится




 

Member
Статус: Не в сети
Регистрация: 15.12.2015
Откуда: из Караганды
Фото: 4
Заметил интересную вещь: раньше гонял скрипт прайма на холодную, и VID по каждому ядру были на уровне 1,105 v в максимуме, а тут решил погонять скрипт сразу после выхода из игры, так при прочих неизменившихся условиях VID по каждому ядру в пике стали на уровне 1,140 - 1,145 v, по мере охлаждения системника где-то к 3-му прогону вернулись к значениям 1,105 v в макс. Получается этакая спираль, - растет температура, повышается напруга, как следствие, снова растет температура....уот так уот.

_________________
Я - фанат PBO2. Боже, храни АМД!


 

Member
Статус: Не в сети
Регистрация: 29.09.2017
Откуда: дровишки?
Фото: 29
Alex_Str писал(а):
Вот я сделал скрин этих VIDов на фиксе с частотой 4500 и напряжением 1,29

Я бы не сильно полагался на данные этих и ряда других "сенсоров" в фиксе.
Alex_Str писал(а):
Если они не могут, то как тогда регулируется это напряжение? Кто его запрашивает? Оно на всех ядрах разное и в нагрузке увеличивается не одинаково...если конечно это напряжение, хотя я считаю что это все же запросы.

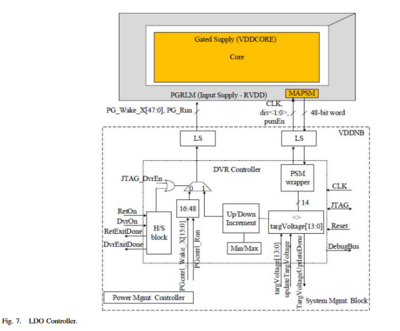
Также, как не делают запросы чайник или лампочка, ты просто подаешь на них 220 и все. Запрос делает программа, обмениваясь данными с PWM контроллером, например (на моей плате RAA229004).
Регулируется вот такой штукой (изначально напряжение бралось из таблиц VFT, щас точно не скажу, может так, а может исходя из target FIT ядра. Схема далеко не новая, но смысл +- тот же)
Вложение:
LDO.PNG
LDO.PNG [ 214.15 КБ | Просмотров: 569 ]

Alex_Str писал(а):
Кстати как ты еще вот такое объяснишь...я про такое тут уже пару раз писал, но ответа так и не было.
Vcore подтверждается мультиметром на ноге конденсатора VRM.

Ну как то так, например:
Vcore-SVI vs. CPU Vcore telemetry
Вложение:
Vcore-SVI2.png
Vcore-SVI2.png [ 825.86 КБ | Просмотров: 569 ]

ИМХО, Vcore SVI2 - что-то типа пикового напряжения с гистерезисной зависимостью, типа Tctl.

_________________
PJVol @OCN, Anandtech


 

Все буде КНР
Статус: Не в сети
Регистрация: 15.03.2006
Откуда: STOP WAR
Фото: 0
vol2008 писал(а):
Также, как не делают запросы чайник или лампочка, ты просто подаешь на них 220 и все. Запрос делает программа, обмениваясь данными с PWM например (на моей плате RAA229004).
Регулируется вот такой штукой (изначально напряжение бралось из таблиц VFT, щас точно не скажу. Схема далеко не новая, но смысл +- тот же)

Вопросы "кто" и "как" были риторическими, к контексту они не относятся. Факт в том что ядра получают различное напряжение и так как управление питанием цифровое, должны быть и запросы.
На процессор как я понимаю приходит одно напряжение, а внутри уже распределяется встроенным регулятором...вот на него и приходят запросы. И Мартин что на форуме в теме, что в комментарии в программе четко указал что это запросы, а не текущее напряжение. Но с другой стороны, так как к этому регулятору нет доступа для управления, реальные напряжения должны соответствовать запрашиваемым, в пределах погрешности и просадок конечно.
vol2008 писал(а):
Ну как то так, например:

И что это объясняет? Дебагер показал то же что и датчик мат.платы.


 

Member
Статус: Не в сети
Регистрация: 02.11.2008
Откуда: Москва
Подскажите, не могу понять вот есть 5900x + Noctua NH-D14

Из коробки без всяких разгонов в некоторых играх 90 градусов. При этом одна часть греется до ~52-58, другая часть ~60-90. Стоит ли вообще этим заморачиваться? Гнать ничего не хочу.

p.s. Вот такие температуры:
Вложение:
2.JPG
2.JPG [ 67.46 КБ | Просмотров: 485 ]


Не знаю как понимать, Ryzen 3600X так себя не ведёт, там есть скачок до 80 градусов и потом плавное снижение до 70-75, тут же чёт какая то беда. При этом в фул нагрузке праймом там температуры 60-75 градусов.


 

Advanced member
Статус: Не в сети
Регистрация: 02.05.2007
Откуда: Красноярск
Фото: 107
Будильник Не плохо :D у меня однопоток гораздо хуже https://browser.geekbench.com/v5/cpu/14126685
При многопоточном тесте до 85 доходит :crazy:


 

Member
Статус: Не в сети
Регистрация: 26.10.2021
Cool'D писал(а):
Стоит ли вообще этим заморачиваться?

не обязательно, это по сути нормальный режим работы. можно вручную в биосе ограничить максимальную температуру до которой процессору позволено нагреваться. или можно как некоторые отполировать крышку процессора и кулера чтобы плотнее было прилегание
Cool'D писал(а):
Не знаю как понимать

читать обзоры перед покупкой пробовали? всё везде описано, никакой магии там нет

_________________
MSI X870 Tomahawk | Ryzen 9700X | Palit RTX 5070 Ti


 

Member
Статус: Не в сети
Регистрация: 30.04.2019
Здравствуйте.

Есть ли смысл обновляться до 5600х с 2600х? Ощутим ли прирост/отсутствие фризов? Память тюнить не собираюсь 3200 - 3466 при 16 таймингах.

Влияет ли количество ядер на температуры ВРМ? У меня с 2600х самым горячим местом в системе является как раз таки ВРМ. 5800х наверное спалит материнку, да и arctic freezer 34 для охлада наверное не хватит ?

Спасибо.


 

Member
Статус: Не в сети
Регистрация: 25.03.2021
d1shd писал(а):
Есть ли смысл обновляться до 5600х с 2600х? Ощутим ли прирост/отсутствие фризов? Память тюнить не собираюсь 3200 - 3466 при 16 таймингах

от видюхи зависит,но в целом да ..фпс вырастет особенно минимальный
так что да...поменять стоит если нет упора в 60фпс


 

Member
Статус: Не в сети
Регистрация: 02.11.2008
Откуда: Москва
scaleless писал(а):
читать обзоры перед покупкой пробовали? всё везде описано, никакой магии там нет


Да я вроде бы почитал, думаю ну 180 ватт примерно отводил Noctua NH-D14 без проблем, а тут вообще ~140 в пике. Ну в общем тогда хрен с ним, с канала оптимуса быстро тыкнул PBO +CO -15 и норм - чуть холодней стал+ чуть лучше буст. (хотя вот эти пики красные до 95 всегда одинаковые).


 

Member
Статус: Не в сети
Регистрация: 29.09.2017
Откуда: дровишки?
Фото: 29
Alex_Str писал(а):
На процессор как я понимаю приходит одно напряжение, а внутри уже распределяется встроенным регулятором...вот на него и приходят запросы.
Запросы от кого, кому, и каким образом (протокол)?

Alex_Str писал(а):
И Мартин что на форуме в теме, что в комментарии в программе четко указал что это запросы, а не текущее напряжение.
Рад за него.

Alex_Str писал(а):
И что это объясняет?
Что не всегда можно полагаться на "датчики".

_________________
PJVol @OCN, Anandtech


 

Member
Статус: Не в сети
Регистрация: 02.11.2008
Откуда: Москва
Ещё вопрос - правильно ли я понимаю, что разгон через фикс множителя и напряжения (допустим 1.15v) прокатит только в том случае если нагрузка будет не avx? И что будет если подать например ту же Small FFT в прайме (обычно ней я тестирую стабильность).


 

Member
Статус: Не в сети
Регистрация: 03.02.2016
Фото: 7
Cool'D писал(а):
Да я вроде бы почитал, думаю ну 180 ватт примерно отводил Noctua NH-D14 без проблем, а тут вообще ~140 в пике. Ну в общем тогда хрен с ним, с канала оптимуса быстро тыкнул PBO +CO -15 и норм - чуть холодней стал+ чуть лучше буст. (хотя вот эти пики красные до 95 всегда одинаковые).

Ну пики до 95 в обычных задачах с CO-15 это как то ненормально. Процессор вряд ли будет рад такому режиму работы. Покопайте еще. Возможно noctua и его горб мешают хорошему съему тепла.

_________________
Ryzen 7 5800x3d CO -30, x570 Aorus Elite, DDR4 16GBx2 Ballistix 3600 cl16, ASUS RTX 5070ti TUF, Define R5, Custom Water loop


Показать сообщения за:  Поле сортировки  
Начать новую тему Новая тема / Ответить на тему Ответить  Сообщений: 38624 • Страница 926 из 1932<  1 ... 923  924  925  926  927  928  929 ... 1932  >
-

Часовой пояс: UTC + 3 часа


Кто сейчас на конференции

Сейчас этот форум просматривают: нет зарегистрированных пользователей и гости: 41


Вы не можете начинать темы
Вы не можете отвечать на сообщения
Вы не можете редактировать свои сообщения
Вы не можете удалять свои сообщения
Вы не можете добавлять вложения

Перейти:  
Создано на основе phpBB® Forum Software © phpBB Group
Русская поддержка phpBB | Kolobok smiles © Aiwan