Часовой пояс: UTC + 3 часа




Начать новую тему Новая тема / Ответить на тему Ответить  Сообщений: 32787 • Страница 1567 из 1640<  1 ... 1564  1565  1566  1567  1568  1569  1570 ... 1640  >
  Пред. тема | След. тема 
В случае проблем с отображением форума, отключите блокировщик рекламы
Автор Сообщение
 
Прилепленное (важное) сообщение

Member
Статус: Не в сети
Регистрация: 03.06.2006
Откуда: Москва
Фото: 133
В данной теме обсуждаются видеокарты с архитектурой RDNA2 - Navi 23 XT, Navi 22 (XT), Navi 21 (XL, XT, XTX): RX 6600 XT | RX 6700 XT | RX 6800 | RX 6800XT | RX 6900XT
#77

Архитектурные особенности RDNA2
Архитектура RDNA 2 и графический процессор Navi 21 - 3DNews
The RDNA2 Architecture - TechPowerUP
Если вы хотите прочесть всё тоже самое, но в гораздо более подробном варианте, то это можно сделать на сайте GpuOpen
Некоторые наиболее интересные документы и презентации:
1. RDNA ARCHITECTURE
2. Analyzing and Leveraging Shared L1 Caches in GPUs
3. "RDNA 1.0" Instruction Set Architecture
4. "RDNA 2" Instruction Set Architecture
5. AMD CDNA ARCHITECTURE
6. RDNA Architecture
7. OPTIMIZING FOR THE RADEONTM RDNA ARCHITECTURE

Официальные характеристики карт Radeon RX 6800 | RX 6800XT | RX 6900XT
#77

Обзоры
Архив обзоров по сериям:
AMD Radeon RX 6900 XT Review Roundup - VideoCardz
AMD Radeon RX 6800 Reference Series Review Roundup - VideoCardz
AMD Radeon RX 6800 Custom Series Review Roundup - VideoCardz
TechPowerUp RX 6800 XT Reviews -TechPowerUp
TechPowerUp RX 6800 Reviews -TechPowerUp

Отечественные обзоры:
Смогла: обзор видеокарт AMD Radeon RX 6800 и Radeon RX 6800 XT - 3DNews.ru
Обзор видеоускорителя AMD Radeon RX 6800 XT: компании AMD удается догнать флагманские решения конкурента, но не во всем - ixbt.com
Обзор видеоускорителя AMD Radeon RX 6800: хороший конкурент Nvidia GeForce RTX 3070, но не во всем - ixbt.com
Тест и обзор: Radeon RX 6800 и Radeon RX 6800 XT - атака Big Navi на NVIDIA - hardwareluxx
Тест и обзор: AMD Radeon RX 6900 XT - Big Navi в максимальном варианте - hardwareluxx
Тест и обзор: ASUS ROG Strix LC Radeon RX 6800 XT OC Edition - мощная видеокарта с водяным охлаждением - hardwareluxx
Обзор видеокарты AORUS Radeon RX 6800 XT Master Type-C - GreenTech_Reviews

Видео обзоры:
Gamers Nexus
AMD Radeon RX 6800 XT GPU Review: Gaming, Thermals, Noise, & Smart Access Memory Benchmarks - Gamers Nexus
AMD RX 6800 GPU Review vs. RTX 3070: Gaming, Ray Tracing, Thermals, & Smart Access Memory - Gamers Nexus
Tear-Down: AMD RX 6800 XT Disassembly & Quality Inspection - Gamers Nexus
Custom AMD RX 6800 XT Strix vs. Nitro+ & Merc Overclocking Recap - Gamers Nexus
AMD Radeon RX 6900 XT GPU Review & Benchmarks: Undervolting, Gaming, Power, Noise - Gamers Nexus

Hardware Unboxed
AMD Radeon RX 6800 XT Benchmark Review, Smart Access Memory, Thermals & Gaming - Hardware Unboxed
AMD Radeon RX 6800 Review, Best Value High-End GPU? - Hardware Unboxed
Sapphire Radeon RX 6800 XT Nitro+ Review, Power, Thermals, Overclocking & Gaming - Hardware Unboxed
PowerColor RX 6800 XT Red Devil Review, Power, Thermals, Overclocking & Gaming - Hardware Unboxed
Asus RX 6800 XT ROG Strix OC LC Review, Power, Thermals, Overclocking & Gaming - Hardware Unboxed
Radeon RX 6900 XT Review, AMD's Fight For the Top - Hardware Unboxed
XFX RX 6800 XT Speedster Merc 319 Review, Power, Thermals, Overclocking & Gaming - Hardware Unboxed

Optimum Tech
Test Fitting the RX 6800 XT in ITX Cases - Optimum Tech
AMD RX 6800 XT Review - The RTX 3080 Killer? - Optimum Tech
AMD RX 6900 XT Review - I Can't Recommend This - Optimum Tech

PRO Hi-Tech
RX 6800 / 6800XT Тест в играх, майнинге и рабочем ПО vs RTX 3070 и 3080 - PRO Hi-Tech
RX 6900 XT против RTX 3090 и 3080 в новых играх и рабочих приложениях - PRO Hi-Tech
6800 XT c жидкостным охлаждением! Как разгоняется и что может по сравнению с 6900 XT. - PRO Hi-Tech

i2HARD
Тест Radeon RX 6800 и RX 6800XT vs RTX 3070 и RTX 3080 — она вам не рыкса

der8auer
This RX 6800 XT Red Devil just beat my RTX 3090 😱
AMD could have World Records - but they went for BIOS limits instead

Level1Techs
Radeon RX 6800(XT) Launch, Thoughts, Rambles & Games Tested -Level1Techs
TriXXBoost Tricky Tricks - Sapphire Nitro+ 6800 Review - Level1Techs

Coreteks
Radeon RX 6800 & 6800XT REVIEW - Coreteks
Move aside NVidia - Radeon 6900XT Review - Coreteks

Digital Foundry
AMD Radeon 6800 XT/6800 vs Nvidia GeForce RTX 3080/3070 Review - Which Should You Buy? - Digital Foundry
AMD Radeon RX 6900 XT Review vs RTX 3090/ RTX 3080/ RX 6800 XT! - Digital Foundry

KitGuruTech
AMD Big Navi: RX 6800 XT / 6800 Review - KitGuruTech
AMD RX 6900 XT Review - KitGuruTech
Sapphire RX 6800 XT Nitro+ Review - KitGuruTech
PowerColor RX 6800 XT Red Devil Review - KitGuruTech

Hardware Numb3rs
Intel and Smart Access Memory: 10900K + 6800XT Benchmarks - Hardware Numb3rs
World of Warcraft Benchmarks: AMD Radeon 6800XT Vs NVIDIA RTX 3090 - Hardware Numb3rs
EK Quantum Vector for Radeon 6800 XT: Install and Overclocking Guide - Hardware Numb3rs
AMD Radeon RX 6800 XT + EK Quantum Vector OC Benchmarks - Hardware Numb3rs

Обзоры форумчан:
Измеряем энергопотребление видеокарт AMD - PowerColor RX 6900 XT Red Devil (часть первая) - Fatronix - overclockers.ru
Логи HWiNFO в закрепке сообщения
Измеряем энергопотребление видеокарт AMD — PowerColor RX 6900 XT Red Devil с увеличенным лимитом (часть вторая) - Fatronix - overclockers.ru
Логи HWiNFO в закрепке сообщения
Программа для просмотров этих логов GenericLogViewer
Обзор Sapphire Radeon 6900 XT Toxic Extreme Edition (XTXH) - Alexxx480 - overclockers.ru

Обзор печатных плат и VRM:
GPU PCB Breakdown: RX 6800XT Red Devil - buildzoid - Actually Hardcore Overclocking
GPU PCB Breakdown: XFX RX 6800 XT Speedster Merc 319 - buildzoid - Actually Hardcore Overclocking


F.A.Q.

OC, UV, Bios Edit, SPPT - раздел для тех, кто понимает, что делает
RED BIOS EDITOR and MorePowerTool for Polaris, Navi and Big Navi - igorslab.de
The complete Big Navi UV Guide: Undervolting and power saving with the MorePowerTool simply explained | Practice - igorslab.de

Вот тут плейлист с несколькими видео по разгону, в т.ч. с применением MPT.
Radeon 5000/6000 overclocking - TheGrayingTech

Небольшое тестирование референс карты RX 6800 XT на разных частотах от smile-777

Напоминаю! Пользователь, если ты ничего в этом не понимаешь, не занимайся разгоном! Ну а если всё-таки занялся, то делаешь всё на свой страх и риск. Мы, как и блогеры, расписывающие методики разгона, не отвечаем за последствие твоих действий!



Общие рекомендации после покупки карты
- Установить последнюю версию Windows 10 1903/1909. Как это сделать можно прочитать здесь https://www.microsoft.com/ru-ru/softwar ... /windows10.
- Осуществить подключение питания карты рекомендуется двумя отдельными кабелями во избежание возможных проблем с блоком питания, с самими кабелями и пиковым потреблением.
- Использовать блок питания рекомендуемой производителем карты мощности.
- Необходимо учитывать, что некоторые запущенные программы по мониторингу (afterburner, gpu-z и подобные) могут вызывать различного рода проблемы в работе карты и поведения карты в игре (статтеры, снижение fps, сбой в работе вентиляторов). В некоторых случаях были проблемы c оверлеем Adrenaline. (данная рекомендация может считаться устаревшей, в случае использования последних версий драйверов и обновлений Windows).
- Разгон оперативной памяти может вызывать статтеры, вылеты или черные/синие экраны, если он был произведен без должного тестирования памяти на стабильность. Поэтому перед проверкой карты и ее разгонного потенциала рекомендуется сбросить разгон процессора и памяти.
- Порядок установки новой карты: установить новую ОС -> установить драйвера чипсета -> установить прочие драйвера -> установить драйвер видеокарты.
- Рекомендуется переустанавливать драйвер после переключения БИОСа на видеокарте, чтобы он (драйвер) корректно интерпретировал новые настройки (эта рекомендация Sapphire, написанная на бумажке, которая вложена в коробку с видеокартой).
- Рекомендуется заполнить табличку OC potential of RX 6000 series
- Проверить карту стресс тестами и играми (в том числе при при разгоне) в стоке со сбросом любого разгона (в т.ч. памяти и процессора): 3DMark Time Spy, тест на стабильность, 20 прогонов
- Одна из рекомендаций по отлову черных экранов и проверки системы на стабильность: LinX (задачи 40000) + Kombustor (1080р), вместе включаем и смотрим приблизительно полтора часа. Предварительно выкрутить вентиляторы карты и системы на максимум во избежание перегрева.

После установки в системный блок и соблюдения общих рекомендаций, видеокарта должна стабильно работать на заявленных частотах без какого-либо вмешательства со стороны пользователя. Не должно быть синих или черных экранов. В случае появления какой-либо проблемы, прочтите шапку темы, спросите о своей проблеме в теме. Убедительно просим не заниматься андервольтингом или разгоном для решения своих проблем без базовых знаний и соответсвующих навыков. Если не помогли советы и рекомендации форумчан, смело возвращаете карту обратно в магазин.
Обращаться за советом и знаниями не стыдно, даже если вы уверенный пользователь со стажем.




Жалобы о багах драйвера и проблемах в играх можно отправить по ссылке AMD Issue reporting form (ссылка периодически перестает работать, так как AMD постоянно меняет URL адрес этой страницы)
В данной форме ведем статистику разгона и работы в стоке. Заполняем табличку, не ленимся - OC potential of RX 6000 series
:rtfm:
Правила темы. Обязательно к ознакомлению
1. Для начала ознакомьтесь с Правилами Конференции.
2. Категорически запрещается использовать красный цвет в сообщениях - оставьте его для Модераторов и Куратора! Рекомендуется также не злоупотреблять остальными цветами.
3. Все односложные сообщения (типа: "Аналогично", "+1...", "У меня также") будут стираться без предупреждений.
4. Обсуждение действий Куратора или Модератора в теме не допускаются! Для этого есть ЛС (Личные сообщения). Прежде чем написать - советую всё обдумать. "Дыма без огня не бывает!"
5. Предложения и вопросы по "шапке" и FAQ темы принимаются в ЛС (Личные сообщения). В самой теме этого делать не нужно.
6. Прежде чем задать свой вопрос или написать о чём-то - поинтересуйтесь: нет ли хотя бы на последних страницах темы или в FAQ похожих вопросов и решений.
7. Флуд и оффтоп даже под тэгом /офф или /спойлер - в случае злоупотреблений могут быть награждены ЖК, как и ответы на сообщения, его содержащие. Имейте это ввиду.
8. Если вы увидели сообщение, нарушающее правила - просто жмите СК: отвечать на такие посты не нужно!
9. Картинки/видео прятать под спойлер (с именем):
10. Убедительная просьба, прячьте все (любые) картинки и видео под спойлер со знаком равно. Не исполььзуйте тег спойлера без знака "равно" для картинок - он для текста! Уважайте друг друга! Не у всех Интернет безлимитный и многие смотрят эту тему через телефон.
Использовать для картинок:
Код:
[spoiler=картинка]ссылка на картинку[/spoiler]

Использовать для текста:
Код:
[spoilеr]текст[/spoilеr]

Обращение ко всем участникам ветки. Любое проявление неуважения друг другу, оскорбления, мат, создание атмосферы нетерпимости, переход на личности и разжигание ненависти будут просто удаляться в независимости от содержания сообщений. Учитесь быть взрослыми и вести спокойные продуктивные беседы. Спорьте на здоровье, но только без всего этого. Если хотите поофтопить или поматериться, то идите в личку.

_________________
R9-5900X//C8IMPACT//Ballistix 2*16GB Micron E-die@3600 CL16 XMP//Custom LQ//Samsung 970 Pro 512GB//RX6900XT RedDevil//Asus MG279Q


Последний раз редактировалось Fitchew 06.12.2021 11:06, всего редактировалось 21 раз(а).


Партнер
 

Member
Статус: Не в сети
Регистрация: 29.09.2017
Откуда: дровишки?
Фото: 29
tsaMolotoff писал(а):
Ну так выстави тоже частоту заведомо выше такой же точки для твоей карты (определяется нажатием на кнопку "разгон гпу" в ватмане, выдаваемая цифра как раз близка к этой точке при охлаждении на воде) и сравни, что изменится, если поменять напряжение

Проверил с 2700, все в порядке )

mirkus
Г.Н.С. !

_________________
PJVol @OCN, Anandtech


 

Member
Статус: Не в сети
Регистрация: 07.04.2024
Странно но именно игра God of war Ragnarök работает нормально только с бета драйверами 24.20.11.01, с драйверами 24.9.1 вылетает((( почему хз.

_________________
AMD Ryzen 7 5700X3D | RX9070xt PowerColor Hellhound | DDR4 32GB 3466Mhz | MSI B550 A-PRO.


 

Заблокирован
Заблокирован
Статус: Не в сети
Регистрация: 17.05.2021
Откуда: Eridanus II
Фото: 6
mirkus писал(а):
благодарю за комментарий
не разбрасывайтесь благодарностями попусту, это их обесценивает.
mirkus писал(а):
я слежу за значениями
только вчера установив hwinfo
mirkus писал(а):
я не полный новичок в разгоне/андервольте.
кто спорит ? Хотя, с выбором карты вы же промахнулись - одни минусы )

_________________
Asus h510m | 10400F | 2666cl13 | 6700XT RD | Be quiet SP 600 | Samsung 980 Pro 512 | FHD&240Hz
There's two of us now, remember ?


 

Все буде КНР
Статус: Не в сети
Регистрация: 15.03.2006
Откуда: STOP WAR
Фото: 0
tsaMolotoff писал(а):
Это абсолютно ненормальное поведение

Тут многие писали что для старших моделей регулятор напряжения в панели драйвера не работает, люди снижают напряжение в МРТ.
Но это не карта ведет себя не так, а вы неправильно представляете как она должна себя вести.
Регулятор напряжения в панели драйвера это смещение и для высоких частот работает иначе.
Я еще заметил что когда на горячую повышаешь частоту, напряжение чуть снижается, может просадка.


 

Заблокирован
Заблокирован
Статус: Не в сети
Регистрация: 17.05.2021
Откуда: Eridanus II
Фото: 6
tsaMolotoff писал(а):
Ставим частоту 2700
tsaMolotoff писал(а):
карта всегда работает на максимальном напряжении
tsaMolotoff писал(а):
Это абсолютно ненормальное поведение, т.к. нигде не указано
как она работает в разгоне ? По моему это нормально. Ака негарантийный случай.

_________________
Asus h510m | 10400F | 2666cl13 | 6700XT RD | Be quiet SP 600 | Samsung 980 Pro 512 | FHD&240Hz
There's two of us now, remember ?


 

Member
Статус: Не в сети
Регистрация: 26.08.2019
mirkus писал(а):
Меня в первую очередь интересует лимит частоты ядра, вот у этой карты https://www.techpowerup.com/vgabios/241 ... 288-210623, он 2950 МГц. Device Id: 1002 73DF Subsystem Id: 1DA2 E445 как у моей, но поддержки памяти Micron не указано. Считаете можно шить?

mirkus писал(а):
О! нашёл Nitro+ на микроне: https://www.techpowerup.com/vgabios/241 ... 288-211022
как считаете, можно прошить?

не стартует карта с этими биосами (( другие не стал пробовать, там шанс ещё меньше.

Добавлено спустя 4 минуты 39 секунд:
WhiteRatify писал(а):
не разбрасывайтесь благодарностями попусту, это их обесценивает.

это всего лишь проявления уважения к вашему труду, сразу видно, вы не участвовали в корпоративных тренингах )))
WhiteRatify писал(а):
только вчера установив hwinfo

почему вы так решили?
WhiteRatify писал(а):
кто спорит ? Хотя, с выбором карты вы же промахнулись - одни минусы )

да, я отклонился от привычной последовательности, но отдавал себе отчёт, что за эту сумму я эту карту и продам легко. мне было интересно - я свой интерес удовлетворил

Добавлено спустя 10 минут 58 секунд:
когда только установил карту, обрадовался, что карта сбрасывает частоты памяти без нагрузки, т.к. были проблемы на RX5700 после замены монитора (герцовка увеличилась с 75 до 180 Гц).
а сейчас снова переустанавливал дрова и новая карта также перестала сбрасывать частоты и потребление выше и нагрев. решение я нашел - CRU, но может есть и другое?
Вложение:
драйвер.jpg
драйвер.jpg [ 68.03 КБ | Просмотров: 419 ]

_________________
Jingsha X99-D8 v1.0, e5-1660v3@3700, Hynix 4х 8GB DDR4-2400 ECC Reg, Sapphire Pulse RX6700XT 12Gb, NMVE Samsung PM9A1 1Tb


 

Все буде КНР
Статус: Не в сети
Регистрация: 15.03.2006
Откуда: STOP WAR
Фото: 0
mirkus писал(а):
а сейчас снова переустанавливал дрова и новая карта также перестала сбрасывать частоты

У меня такого не было, но я привык сначала удалять драйвер из панели управления, перед тем как установить.


 

Member
Статус: Не в сети
Регистрация: 26.08.2019
Alex_Str писал(а):
У меня такого не было, но я привык сначала удалять драйвер из панели управления, перед тем как установить.

я так и делал, причём несколько раз и всё было хорошо (частоты сбрасывались). почему именно в этот раз частоты не сбрасываются - сам не пойму.
у вас тоже высокогерцовый монитор и при этом нет проблем со сбросом частот памяти?

_________________
Jingsha X99-D8 v1.0, e5-1660v3@3700, Hynix 4х 8GB DDR4-2400 ECC Reg, Sapphire Pulse RX6700XT 12Gb, NMVE Samsung PM9A1 1Tb


 

Все буде КНР
Статус: Не в сети
Регистрация: 15.03.2006
Откуда: STOP WAR
Фото: 0
mirkus писал(а):
у вас тоже высокогерцовый монитор и при этом нет проблем со сбросом частот памяти?

Монитор на 165Гц, но работает сейчас при 120Гц, больше не вижу смысла ставить. Да частота сбрасывается в простое. Монитор подключен через DP.
Проверил, при 144Гц сбрасывается, при 165Гц уже нет.
Вложение:
2024-10-08_005112.png
2024-10-08_005112.png [ 182.49 КБ | Просмотров: 386 ]


 

Member
Статус: Не в сети
Регистрация: 26.08.2019
Alex_Str писал(а):
Проверил, при 144Гц сбрасывается, при 165Гц уже нет.

во-во, у меня такая же примерно ситуация.
а я, наоборот, не вижу смысла ставить ниже 180 ГЦ при включённом Adaptive Sync, это же приятный бонус от AMD
побегал немного в CyberPunk (до этого только тесты запускал) и должен признать ощущения ощутимо приятнее чем от RX5700.

_________________
Jingsha X99-D8 v1.0, e5-1660v3@3700, Hynix 4х 8GB DDR4-2400 ECC Reg, Sapphire Pulse RX6700XT 12Gb, NMVE Samsung PM9A1 1Tb


 

Все буде КНР
Статус: Не в сети
Регистрация: 15.03.2006
Откуда: STOP WAR
Фото: 0
mirkus писал(а):
а я, наоборот, не вижу смысла ставить ниже 180 ГЦ

Между 60 и 120 герц я разницу вижу, а вот между 120 и 144 или 165 вообще никакой разницы и поэтому не вижу смысла в лишней нагрузке на матрицу, видеокарту и прочее.
mirkus писал(а):
при включённом Adaptive Sync

В играх я ограничиваю ФПС на приемлемом уровне, например те же 120 или 60, так и фпс стабильный и нет лишней нагрузки/нагрева/шума.
А когда фпс ограничен и стабилен, нет необходимости в адаптивной синхронизации.


 

Member
Статус: Не в сети
Регистрация: 29.09.2017
Откуда: дровишки?
Фото: 29
tsaMolotoff писал(а):
Это абсолютно ненормальное поведение, т.к. нигде не указано (в доступной простому человеку форме и источниках), что при достижении определенной отметки характер работы карты радикально меняется.

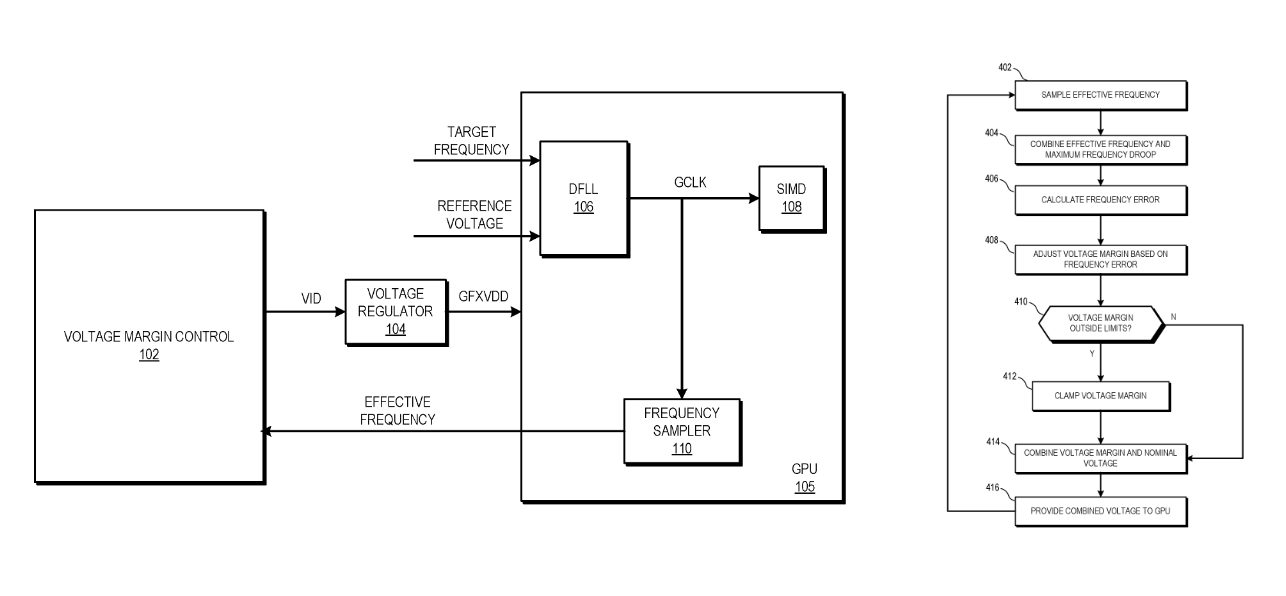
Я не забавы ради проводил аналогию с Curve Optimizer (в Ryzen 5000 и выше). Может этот график прояснит немного назначение параметра "OD VddGfx Offset", по какому-то недоразумению / лени разработчиков OD API / совместимости с legacy API (нужное подчеркнуть), назвали в GUI адреналина просто "Voltage". На нем показан процесс регулирования с помощью dLDO Vdd core проца, но суть в общем та же, только вместо Vdroop threshold в Navi21 VddGfx offset (на диаграмме Voltage Margin в VMC)
Вложение:
regulating Vdd.png
regulating Vdd.png [ 30 КБ | Просмотров: 368 ]
Вложение:
voltage margin.png
voltage margin.png [ 60.56 КБ | Просмотров: 368 ]

В кач-ве иллюстрации, рез-ты тестов SP (две первые сцены) на разных частотах с UV 1000mv и 1100mv, в поисках магической "точки отсечения". Со скринами не стал заморачиваться - много возни, оформил в виде таблички.
Вложение:
uv.png
uv.png [ 23.12 КБ | Просмотров: 368 ]


Добавлено спустя 4 минуты 5 секунд:
mirkus писал(а):
не стартует карта с этими биосами (( другие не стал пробовать, там шанс ещё меньше.

Не пойму, на кой ляд шить какие-то Club3d (с отличающимся SSID) или даже "нитру", если есть биосы для "пульса" с Fmax 2950?
https://www.techpowerup.com/vgabios/241511/241511
https://www.techpowerup.com/vgabios/244325/244325

_________________
PJVol @OCN, Anandtech


 

Все буде КНР
Статус: Не в сети
Регистрация: 15.03.2006
Откуда: STOP WAR
Фото: 0
Flanker-E+ писал(а):
Странно но именно игра God of war Ragnarök работает нормально только с бета драйверами 24.20.11.01, с драйверами 24.9.1 вылетает((( почему хз.

Вложение:
2024-10-10_195937.png
2024-10-10_195937.png [ 1.6 МБ | Просмотров: 343 ]


 

Member
Статус: Не в сети
Регистрация: 26.08.2019
vol2008 писал(а):
Не пойму, на кой ляд шить какие-то Club3d (с отличающимся SSID) или даже "нитру", если есть биосы для "пульса" с Fmax 2950?
https://www.techpowerup.com/vgabios/241511/241511
https://www.techpowerup.com/vgabios/244325/244325

ну как же так?) как вы их нашли?))
спасибо! завтра попробую... неохота вечером опять разбирать комп, если что пойдёт не так.

_________________
Jingsha X99-D8 v1.0, e5-1660v3@3700, Hynix 4х 8GB DDR4-2400 ECC Reg, Sapphire Pulse RX6700XT 12Gb, NMVE Samsung PM9A1 1Tb


 

Member
Статус: Не в сети
Регистрация: 11.11.2005
Откуда: VoID
Alex_Str писал(а):
Тут многие писали что для старших моделей регулятор напряжения в панели драйвера не работает, люди снижают напряжение в МРТ.
Но это не карта ведет себя не так, а вы неправильно представляете как она должна себя вести.
Регулятор напряжения в панели драйвера это смещение и для высоких частот работает иначе.

Я конечно понимаю, что ты лайт версия форворта, но ты хотя бы читал, что я пишу?

vol2008 писал(а):
Проверил с 2700, все в порядке )

То есть твой оффсет меняется с частотой и он непредсказуемый- ок, наконец-то ты со мной согласился :D

WhiteRatify писал(а):
как она работает в разгоне ? По моему это нормально. Ака негарантийный случай.

Нет, это так "логика АМД" работает, вон выше эксперт поясняет, теорию подводит под то, что АМД умалчивает (наконец-то этот факт признан), что разгон по сути не работает, если не использовать фикс напряжение, как я делаю уже два года с покупки карты. А в противоположном случа карта сама выбирает, что ей делать, разве что сделать как камрад mirkus и вернуть старый механизм управления курвой :lol:

фикс
Вложение:
features.PNG
features.PNG [ 22.94 КБ | Просмотров: 303 ]
Вложение:
voltages.PNG
voltages.PNG [ 32.24 КБ | Просмотров: 303 ]

_________________
S3Trio 64V+/S3 Trio3D 2x/Radeon VE 32 Mb/S-re R9600/PCr 9800/R X800/M56/Toxic R6950@70->R9 290 ->Vega56 Nitro+LE -> 6900xt @ 2800/2125


 

Все буде КНР
Статус: Не в сети
Регистрация: 15.03.2006
Откуда: STOP WAR
Фото: 0
tsaMolotoff писал(а):
Я конечно понимаю, что ты лайт версия форворта, но ты хотя бы читал, что я пишу?

Конечно читал и не раз.
tsaMolotoff писал(а):
что разгон по сути не работает, если не использовать фикс напряжение

Еще как работает, я разгонял по самое немогу две 6600 и вот 6800. А вот делать фикс напряжения у видеокарты, это мягко говоря глупая затея.
tsaMolotoff писал(а):
А в противоположном случа карта сама выбирает, что ей делать

Пусть выбирает, так лучше, меньше шанса получить вылет.


 

Member
Статус: Не в сети
Регистрация: 11.11.2005
Откуда: VoID
Alex_Str писал(а):
А вот делать фикс напряжения у видеокарты, это мягко говоря глупая затея.

В противоположном случае на моей карте выше 2550 мгц ты никогда и ни при каких условиях не получишь. Да и на любой другой 6900хт с 73BF, подозреваю.

_________________
S3Trio 64V+/S3 Trio3D 2x/Radeon VE 32 Mb/S-re R9600/PCr 9800/R X800/M56/Toxic R6950@70->R9 290 ->Vega56 Nitro+LE -> 6900xt @ 2800/2125


 

Member
Статус: Не в сети
Регистрация: 29.09.2017
Откуда: дровишки?
Фото: 29
tsaMolotoff писал(а):
То есть твой оффсет меняется с частотой и он непредсказуемый- ок, наконец-то ты со мной согласился

Конечно меняется, см. мой пост ниже, согласен (хотя и не утверждал обратного). Не согласен насчет непредсказуемости, т.к. причины такого поведения заложены в архитектуре; они очевидны, а следовательно - вполне предсказуемы.

С чем я согласен на 100%, так это с абсолютно misleading обозначением слайдера "Voltage" в адреналине. Правда, народ уже привык, что для одних "курва" в райзенах это "андервольт", а для других - "разгон", хоть и технически оба тезиса ошибочны.

Добавлено спустя 16 минут 35 секунд:
PS:
И кстати, по поводу
tsaMolotoff писал(а):
с включенным фикс режимом как раз все прогнозируемо и предсказуемо - вольтаж не меняется при изменении частоты.

Так и VddGfx Offset (OD8 Voltage) в этом режиме игнорируется, отчего и выглядит "предсказуемо", т.к. ты убираешь причину лимита масштабирования частоты (или обратного масштабтрования рабочего напряжения). Как на процах середины 2000-х. Поднял множитель FSB, проц не упал - разгон удался )

_________________
PJVol @OCN, Anandtech


Последний раз редактировалось vol2008 10.10.2024 22:58, всего редактировалось 1 раз.

 

Member
Статус: Не в сети
Регистрация: 29.07.2015
Откуда: Москва
Фото: 698
ну где же мислидинг? русским по белому всё написано
#77

_________________
https://overclockers.ru/blog/A224/


 

Member
Статус: Не в сети
Регистрация: 29.09.2017
Откуда: дровишки?
Фото: 29
A224 писал(а):
ну где же мислидинг? русским по белому всё написано

RDNA2 уже почти четыре года. Скажи, как давно эта подсказка стала появляться? (просто года два уже не пользуюсь ваттманом)
И сдается мне, что насчет "across all frequencies" они пpип*****ли, мягко говоря.

_________________
PJVol @OCN, Anandtech


Последний раз редактировалось vol2008 10.10.2024 23:05, всего редактировалось 3 раз(а).

Показать сообщения за:  Поле сортировки  
Начать новую тему Новая тема / Ответить на тему Ответить  Сообщений: 32787 • Страница 1567 из 1640<  1 ... 1564  1565  1566  1567  1568  1569  1570 ... 1640  >
-

Часовой пояс: UTC + 3 часа


Кто сейчас на конференции

Сейчас этот форум просматривают: airatnch, ksv10 и гости: 19


Вы не можете начинать темы
Вы не можете отвечать на сообщения
Вы не можете редактировать свои сообщения
Вы не можете удалять свои сообщения
Вы не можете добавлять вложения

Перейти:  
Создано на основе phpBB® Forum Software © phpBB Group
Русская поддержка phpBB | Kolobok smiles © Aiwan